如果大学改名也有“段位”,大多数学校都恨不得往大了叫——“中国”、“华北”、“华东”怎么大气怎么来。但偏偏有一所京区211,反着来。它最初叫“中国”,后来改成“北方”,最后定名为“北京”。名字越改越小,格局却一点没缩水。它就是北京交通大学。




基本情况:
1、位于北京市
2、211院校、理工类院校
报考优点:
1、实际录取人数常年多于拟录取人数
2、复录比正常,多数专业保持在1.2-1.3之间
报考缺点:
1、整体统考有小幅缩招趋势
2、部分专业报录比较高
1、中国电信教育的起点
作为交通大学的三个源头之一,北京交通大学历史可追溯到1896年。
前身是清政府创办的北京铁路管理传习所——这可是中国第一所专门培养管理人才的高等学校,也是中国近代铁路管理和电信教育的发祥地。
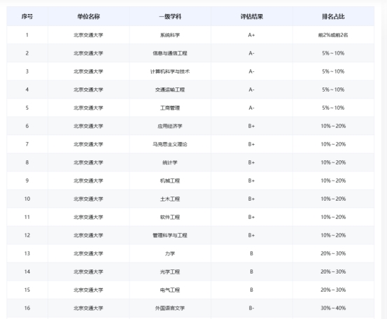
如今,它是国家“211工程”、“985工程优势学科创新平台”、“双一流”建设高校。底蕴这块,拿捏得死死的。
但千万别被“交通”俩字带偏了。北交大是中国电信教育的起点,如今它的电气工程、电子信息、自动化、计算机这四大热门新工科,实力全部在线。想冲京区工科的,这所学校值得你多看两眼。

北交大全日制学硕是3年,专硕基本是2年。
学硕学费统一8000元/学年,专硕大部分专业也差不多,只有几个特殊专业贵一点:软件工程专硕20000/学年,审计专硕和金融专硕40000/学年。
重点说奖学金——北交大实行奖学金全覆盖,最高能拿到12000元。二等学业奖学金基本就能覆盖大部分专业的学费了,再加上国家助学金,你还能有点小零花钱。

在就业市场上,北交大在北京地区的就业认可度非常高,55.4%的研究生签约于北京,且在北京就业超过一半的人解决了北京户口。就业单位也多为500强公司。

2、考情分析:优缺点明显
(1) 报录情况整体友好,个别专业卷王
北交大作为京区顶级211,报考热度一直很稳定。
虽然近两年没公布具体招生人数,但从往年数据看,每年报考人数基本在12000-13000人左右:24考研12897人、23考研13620人、22考研13599人。
这个总数不算夸张,但具体到专业,冰火两重天。
以25报录比为例,少数专业报录比超过5:1,也有部分专业较高。
会计学硕161人报考,统考只录取12人,报录比高达13.42:1;软件工程、法律(非法学)也达到了10:1。

不过有一个实打实的优点:北交大每年实际录取人数,通常会多于招生目录上写的拟录取人数。 这对考研人来说,是个不小的定心丸。

再对比一下近两年的招生趋势:26年总招生人数比25年增加了85人,但实际推免人数比24年增加了190人。所以统考整体来看,还是偏向小幅缩招的,不能掉以轻心。

(2) 复试线冷热不均
26考研各学院复试线分化很明显。机械学院热度暴涨,自动化学院则普遍遇冷。
机械工程学硕及专硕、材料工程专硕、力学、光学工程、建筑学学硕,以及电信学院的人工智能专硕,分数线上涨基本都在60分以上。
反观自动化学院,除去新一代专硕略有上涨,其余专业平均下降35分。

北交大综合来看,复试录取率在82%左右,基本复录比(进复试人数/拟录取人数)保持在1.2-1.3之间,也有少数专业复录比能达到1,即复试不淘汰人。

(3) 调剂多为非全专业
如果你考虑非全日制,北交大接受调剂的专业还挺多,名额也不少,包括资源与环境、能源动力、交通运输、应用统计、英语笔译、新闻与传播、软件工程、人工智能等。

北交大是一所“偏科但不偏门”的学校——交通是老本行,但电信、计算机、电气、自动化这些新工科同样能打。如果你目标是京区工科211,不想去挤那些“卷破头”的学校,又希望复试相对公平、给机会大方,北交大值得你认真考虑。但记得避开那几个报录比破10的专业。
来源:红果研考研教育
2026年4月11日